
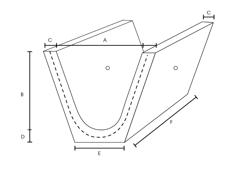
V-Drains

| Norminal Size (mm) | A | B | C | D | E | F | G | kg |
| 300 x 600 | 300 | 300 | 37.5 | 25 | 50 | 175 | 600 | 50 |
| 375 x 600 | 375 | 375 | 37.5 | 25 | 50 | 175 | 600 | 65 |
| 450 x 600 | 450 | 450 | 37.5 | 25 | 75 | 225 | 600 | 85 |
| 600 x 600 | 600 | 600 | 55 | 87.5 | 75 | 225 | 600 | 135 |
*Scroll to the right to see more details.


| Norminal Size (mm) | A | B | C | D | E | F | kg |
| 300 x 600 | 300 | 300 | 65 | 75 | 180 | 600 | 76 |
| 375 x 600 | 375 | 375 | 75 | 90 | 240 | 600 | 110 |
| 450 x 600 | 450 | 450 | 75 | 90 | 300 | 600 | 125 |
| 600 x 600 | 600 | 600 | 75 | 100 | 355 | 600 | 180 |
*Scroll to the right to see more details.


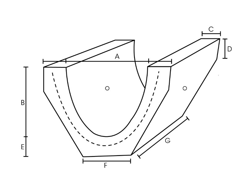
| Norminal Size (mm) | A | B | C | D | E | F | G | kg |
| 375 x 600 | 375 | 375 | 75 | 100 | 75 | 250 | 600 | 80 |
| 450 x 600 | 450 | 450 | 75 | 100 | 75 | 280 | 600 | 110 |
| 600 x 600 | 600 | 600 | 100 | 125 | 100 | 362.5 | 600 | 170 |
*Scroll to right to see more details.